企業博客
更多>>測量有源晶振相位噪聲的步驟
來源:http://m.jqhs.com.cn 作者:康比電子 2018年12月19
科技能有現如今的迅速發展動向,免不了來自電子元件的支持,電子元件中坐落在隨處可見的電子產品還是高科技中,都有著舉足輕重的地位,其中晶振元件便是常見的一款電子元件,諸如晶體振蕩器之類的信號源在輸出頻率附近產生一小部分不希望的能量(相位噪聲).隨著通信和雷達等系統性能的提高,它們采用的有源晶振的頻譜純度越來越重要.
在頻域中測量相位噪聲,并且表示為在與期望信號的給定偏移處的1Hz帶寬中測量的信號功率與噪聲功率的比率.在所需信號的各種偏移處的響應圖通常由對應于振蕩器中的三個主要噪聲產生機制的三個不同斜率組成,如圖1所示.相對靠近載波(區域A)的噪聲稱為閃爍FM噪聲;其大小主要取決于石英晶振的質量.最佳近距離噪聲結果是在4-6MHz范圍內使用5次泛音AT切割晶體或第3次泛音SC切割晶體獲得的.雖然平均效果不是很好,但使用10MHz區域中的3個泛音晶體也可以獲得出色的近距離噪聲性能,尤其是雙旋轉型.較高頻率的晶體由于其較低的Q值和較寬的帶寬而導致較高的近距噪聲.
圖1中B區的噪聲稱為"1/F"噪聲,是由半導體活動引起的.采用低噪聲"L2"石英晶體振蕩器的設計技術將其限制在非常低的,通常無關緊要的值.
圖1的區域C稱為白噪聲或寬帶噪聲.“L2”晶體振蕩器中的特殊低噪聲電路相對于標準設計提供了顯著的改進(15-20dB).
當采用倍頻從較低頻率的晶體獲得所需的輸出頻率時,輸出信號的相位噪聲增加20log(倍增因子).這導致整個電路板上的噪聲降低大約為6dB,用于倍頻,10dB用于頻率三倍,20dB用于十倍乘法.
如圖2所示,對于不采用倍頻的有源晶振,本底噪聲幾乎與晶體頻率無關.因此,對于低噪聲地板應用,通常應使用滿足長期穩定性要求的最高頻率晶體.然而,當較高頻率的應用特別需要最小的近端相位噪聲時,較低頻率的晶體通常可以成倍增加.這是因為近距離相位噪聲比使用更高頻率晶體獲得的噪聲性能更不成比例地好. 請注意,與固定頻率非補償晶體振蕩器相比,溫補晶振和VCXO晶振產品中常用的變容二極管和中等Q晶體的引入導致較差的近距離噪聲性能.
相位噪聲測試
相位噪聲測試通過確定在指定輸出頻率下由振蕩器傳遞的所需能量與在相鄰頻率傳遞的不需要的能量的比率來表征振蕩器的輸出頻譜純度.該比率通常表示為在來自載波的各種偏移頻率下執行的一系列功率測量.功率測量被標準化為1Hz帶寬并且相對于載波功率電平表示.這是NIST技術說明1337中描述的標準相位波動測量,稱為l(f).
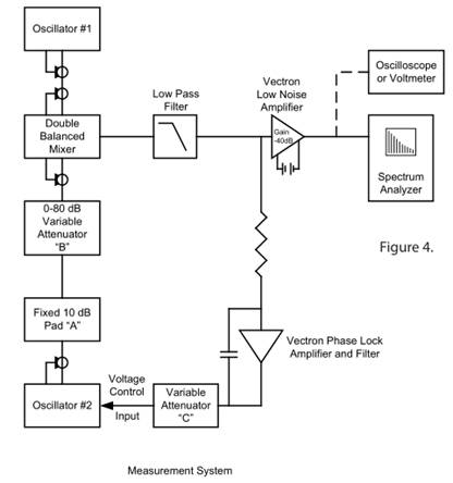
圖3示出了由NIST建議并由Vectron用于測量l(f)的方法的框圖.來自兩個相同標稱頻率的有源晶振的信號被施加到混頻器輸入.除非振蕩器具有出色的穩定性,否則一個振蕩器必須具有用于鎖相的電子調諧.非常窄的頻帶鎖相環(PLL)用于在這兩個源之間保持90度的相位差.混頻器操作使得當輸入信號異相90度(正交)時,混頻器的輸出是與兩個振蕩器之間的相位差成比例的小波動電壓.通過在頻譜分析儀上檢查該誤差信號的頻譜,可以測量這對振蕩器的相位噪聲性能.如果一個振蕩器的噪聲占主導地位,則直接測量其相位噪聲.當兩個測試振蕩器電氣相似時,有用且實用的近似是每個貼片晶振的振蕩器貢獻測量噪聲功率的一半.當三個或更多個振蕩器可用于測試時,可以通過求解表示從振蕩器對的置換測量的數據的聯立方程來精確地計算每個振蕩器的相位噪聲.
圖4顯示了實際的l(f)測量系統.使用該系統測量相位噪聲的步驟如下:
1.頻譜分析儀屏幕的校準.
2.Phase鎖定振蕩器并建立正交.
3.記錄頻譜分析儀讀數并將讀數標準化為每個振蕩器的dBc/HzSSB.
這些步驟詳述如下. 第一步-校準
為避免混頻器飽和,一個振蕩器的信號電平會被10dB衰減(衰減器"A")永久衰減.在校準期間,此款有源晶振的電平額外衰減80dB(衰減"B"),以改善頻譜分析儀的動態范圍.振蕩器在頻率上是機械偏移的,并且所得到的低頻差拍信號的幅度表示-80dB的水平;它是所有后續測量的參考.使用掃頻分析儀時,此電平調整到頻譜分析儀屏幕的頂行.使用數字(FFT)頻譜分析儀時,儀器經過校準,可讀取相對于此電平的RMSVOLTS/√Hz.當完全電平恢復到混頻器并且振蕩器被鎖相時,將相對于-80dB電平測量相位噪聲.
第二步-鎖相
通過將振蕩器機械地調節到相同的頻率,振蕩器被鎖相到正交.當混頻器輸出為0Vdc時,指示兩個石英水晶振動子之間所需的90度相位差.臨時連接到頻譜分析儀的示波器或零中心電壓表是監測正交進度的便捷方式.PLL的工作帶寬必須遠低于感興趣的最低偏移頻率,因為PLL部分地抑制了其帶寬中的相位噪聲.廣泛使用的建立適當環路帶寬的經驗方法是通過衰減器"C"逐步衰減電壓控制反饋.通過在推進衰減器"C"的同時比較感興趣的最低偏移頻率處的連續噪聲測量,可以找到操作點,其中測量的相位噪聲不受衰減器設置的變化的影響.此時,環路帶寬不是測量的相位噪聲的因子.
第三步-讀物
讀數是根據先前在步驟1中建立的-80dB校準水平進行的.如果頻譜分析儀配備齊全以避免測量變化,則使用平滑或平均.掃描頻譜分析儀讀數通常需要進行以下每項校正,而以RMS/√Hz顯示的數字分析儀讀數不需要前兩次校正.有關分析儀噪聲響應的校正,應參考分析儀手冊.
更正
歸一化為1Hz帶寬"BW"是測量帶寬.計算假設為10log10(1/BW)10log10(1/BW)
掃描分析器對噪聲信號的視頻響應.+3dB
雙邊帶到單邊帶顯示.-6dB
假設兩個振蕩器具有相同的噪聲質量,兩個振蕩器的貢獻-3dB
目前的有源晶振低功能,快速啟動,低電壓工作,低電平驅動和低電流消耗已成為一個趨勢.電源電壓一般為3.3V.許多TCXO和VCXO產品,電流損耗不超過2mA.石英晶體振蕩器的快速啟動技術也取得突破性進展.石英晶體振蕩器的價值得到了更廣泛的體現,同時也得到了更快的發展.許多性能高的石英晶振主要應用于通信網絡,無線數據傳輸,高速數字數據傳輸等.
在頻域中測量相位噪聲,并且表示為在與期望信號的給定偏移處的1Hz帶寬中測量的信號功率與噪聲功率的比率.在所需信號的各種偏移處的響應圖通常由對應于振蕩器中的三個主要噪聲產生機制的三個不同斜率組成,如圖1所示.相對靠近載波(區域A)的噪聲稱為閃爍FM噪聲;其大小主要取決于石英晶振的質量.最佳近距離噪聲結果是在4-6MHz范圍內使用5次泛音AT切割晶體或第3次泛音SC切割晶體獲得的.雖然平均效果不是很好,但使用10MHz區域中的3個泛音晶體也可以獲得出色的近距離噪聲性能,尤其是雙旋轉型.較高頻率的晶體由于其較低的Q值和較寬的帶寬而導致較高的近距噪聲.
.jpg)
圖1的區域C稱為白噪聲或寬帶噪聲.“L2”晶體振蕩器中的特殊低噪聲電路相對于標準設計提供了顯著的改進(15-20dB).
當采用倍頻從較低頻率的晶體獲得所需的輸出頻率時,輸出信號的相位噪聲增加20log(倍增因子).這導致整個電路板上的噪聲降低大約為6dB,用于倍頻,10dB用于頻率三倍,20dB用于十倍乘法.
如圖2所示,對于不采用倍頻的有源晶振,本底噪聲幾乎與晶體頻率無關.因此,對于低噪聲地板應用,通常應使用滿足長期穩定性要求的最高頻率晶體.然而,當較高頻率的應用特別需要最小的近端相位噪聲時,較低頻率的晶體通常可以成倍增加.這是因為近距離相位噪聲比使用更高頻率晶體獲得的噪聲性能更不成比例地好. 請注意,與固定頻率非補償晶體振蕩器相比,溫補晶振和VCXO晶振產品中常用的變容二極管和中等Q晶體的引入導致較差的近距離噪聲性能.
相位噪聲測試
相位噪聲測試通過確定在指定輸出頻率下由振蕩器傳遞的所需能量與在相鄰頻率傳遞的不需要的能量的比率來表征振蕩器的輸出頻譜純度.該比率通常表示為在來自載波的各種偏移頻率下執行的一系列功率測量.功率測量被標準化為1Hz帶寬并且相對于載波功率電平表示.這是NIST技術說明1337中描述的標準相位波動測量,稱為l(f).

圖4顯示了實際的l(f)測量系統.使用該系統測量相位噪聲的步驟如下:
1.頻譜分析儀屏幕的校準.
2.Phase鎖定振蕩器并建立正交.
3.記錄頻譜分析儀讀數并將讀數標準化為每個振蕩器的dBc/HzSSB.
這些步驟詳述如下. 第一步-校準
為避免混頻器飽和,一個振蕩器的信號電平會被10dB衰減(衰減器"A")永久衰減.在校準期間,此款有源晶振的電平額外衰減80dB(衰減"B"),以改善頻譜分析儀的動態范圍.振蕩器在頻率上是機械偏移的,并且所得到的低頻差拍信號的幅度表示-80dB的水平;它是所有后續測量的參考.使用掃頻分析儀時,此電平調整到頻譜分析儀屏幕的頂行.使用數字(FFT)頻譜分析儀時,儀器經過校準,可讀取相對于此電平的RMSVOLTS/√Hz.當完全電平恢復到混頻器并且振蕩器被鎖相時,將相對于-80dB電平測量相位噪聲.
第二步-鎖相
通過將振蕩器機械地調節到相同的頻率,振蕩器被鎖相到正交.當混頻器輸出為0Vdc時,指示兩個石英水晶振動子之間所需的90度相位差.臨時連接到頻譜分析儀的示波器或零中心電壓表是監測正交進度的便捷方式.PLL的工作帶寬必須遠低于感興趣的最低偏移頻率,因為PLL部分地抑制了其帶寬中的相位噪聲.廣泛使用的建立適當環路帶寬的經驗方法是通過衰減器"C"逐步衰減電壓控制反饋.通過在推進衰減器"C"的同時比較感興趣的最低偏移頻率處的連續噪聲測量,可以找到操作點,其中測量的相位噪聲不受衰減器設置的變化的影響.此時,環路帶寬不是測量的相位噪聲的因子.
第三步-讀物
讀數是根據先前在步驟1中建立的-80dB校準水平進行的.如果頻譜分析儀配備齊全以避免測量變化,則使用平滑或平均.掃描頻譜分析儀讀數通常需要進行以下每項校正,而以RMS/√Hz顯示的數字分析儀讀數不需要前兩次校正.有關分析儀噪聲響應的校正,應參考分析儀手冊.
更正
歸一化為1Hz帶寬"BW"是測量帶寬.計算假設為10log10(1/BW)10log10(1/BW)
掃描分析器對噪聲信號的視頻響應.+3dB
雙邊帶到單邊帶顯示.-6dB
假設兩個振蕩器具有相同的噪聲質量,兩個振蕩器的貢獻-3dB
目前的有源晶振低功能,快速啟動,低電壓工作,低電平驅動和低電流消耗已成為一個趨勢.電源電壓一般為3.3V.許多TCXO和VCXO產品,電流損耗不超過2mA.石英晶體振蕩器的快速啟動技術也取得突破性進展.石英晶體振蕩器的價值得到了更廣泛的體現,同時也得到了更快的發展.許多性能高的石英晶振主要應用于通信網絡,無線數據傳輸,高速數字數據傳輸等.
正在載入評論數據...
相關資訊
- [2019-08-16]晶振規格書里所有字母代表什么
- [2019-08-12]水晶如何變成石英晶振電子元件
- [2019-08-05]摩爾定律與石英晶振的關系
- [2019-07-20]石英晶振操作和規格
- [2019-07-15]介紹外部32.768KHZ晶體振蕩器
- [2019-05-06]了解石英晶振的電等效模型
- [2019-04-26]NDK高精度工業晶振應用
- [2019-04-01]FQ3225B-12.000美國福克斯3225晶...






